螺杆泵配件和结构图精选
字数:405字 来源:上海螺杆泵厂 作者:螺杆泵选型助手 发布时间:2022-04-27 09:16:34 阅读次数:
导读:螺杆泵配件和结构图 对于 螺杆泵 而言,相信大多数的用户都不会陌生。这是一种可以用来处理污泥污水的高适应性运输设备,因其所具有的对介质的适应性强、流量平稳、压力脉动小、自吸能力高的特点,使得其比其他水泵有着更为广泛的用途。而若是用户对于其内部的结构有所了解的话,那么对于维护和检修螺杆泵会有不小的帮助。下面就请大家跟着上海沈泉 螺杆泵厂家 一...
螺杆泵配件和结构图
对于螺杆泵而言,相信大多数的用户都不会陌生。这是一种可以用来处理污泥污水的高适应性运输设备,因其所具有的对介质的适应性强、流量平稳、压力脉动小、自吸能力高的特点,使得其比其他水泵有着更为广泛的用途。而若是用户对于其内部的结构有所了解的话,那么对于维护和检修螺杆泵会有不小的帮助。下面就请大家跟着上海沈泉螺杆泵厂家一起来看看下面的内容吧。
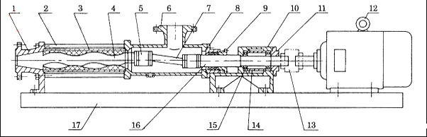
单螺杆泵结构图:


从上图中,我们可以看出单螺杆泵主要是由出料口、拉杆、定子、螺杆轴、万向节、吸入口、连节轴、填料座、填料压盖、轴承座、轴承盖、电动机、连轴器、轴套、底盘、传动轴、底座等结构组成,而其中的定子是属于易耗材料,在长时间的输送复杂成分的介质后,会使其逐渐的出现磨损的状况,这就需要操作人员定时对其观察检测,这样便能及时的发现问题,并能够及时更换其定子。
好了,以上内容由k云体育app官网入口为大家提供,希望能够对大家有所帮助。
上一篇:水泵功率太大怎么降低 下一篇:什么叫多级耐腐蚀离心泵
免责声明:部分文章信息来源于网络以及网友投稿,本网站只负责对文章进行整理、排版、编辑,是出于传递 更多信息之目的,并不意味着赞同其观点或证实其内容的真实性,如本站文章和转稿涉及版权等问题,请作者在及时联系本站,我们会尽快处理。
本文标题: 螺杆泵配件和结构图本文地址://m.999jzw.com/QA/1331.html
本文标题: 螺杆泵配件和结构图本文地址://m.999jzw.com/QA/1331.html






